Castiglione

Paving stone cutting in the 1900s © Rights reserved
France, 2025
Architectures
Castiglione

Wooden paving stones raised by linondation on rue Jacob and rue Bonaparte © ND

Palais Royal originally Palais Cardinal © Plan by Turgot, 1739

Street paving using wooden paving strips Paris 1908 © Rights reserved

Street paving machine for recutting wooden paving stones, Paris, 1907 © Jacques Boyer

Arcades of the Royal Palace © Rights reserved

Rue Castiglione © Rights reserved

Arcades of the Royal Palace, Paris © Rights reserved

Arcades in Turin © Diega Milanese

Hanging lantern Place de Rivoli, Paris Ier, 1865 © Charles Marville

Quartier Konterdam Ostende © Rights reserved

Mosaic floor © Rights reserved

Jean Cocteau in front of the entrance to the Villa Santo Sospir © Paul Louis
© Minton Tile 1909 catalogue
Format and colours © Winckelmans
© Plate from a catalogue of the Compagnie Générale de Céramique du Bâtiment (Cérabati), circa 1930
© Quadrat Karo
Hotel de Lauzun, 19th century © Louis Édouard Fournier

Inner courtyard wall, Hôtel de Lauzun, 2014 © Mbzt

Jean Cocteau, 1957 © Rights reserved

Hôtel de Saint-Aignan, originally Hôtel d'Avaux © Rights reserved

Antique porte cochère © Le Dictionnaire Pratique de Menuiserie - Ebénisterie - Charpente par J. Justin Storck, 1900 edition

Antique porte cochère © Le Dictionnaire Pratique de Menuiserie - Ebénisterie - Charpente par J. Justin Storck, 1900 edition

Antique porte cochère © Le Dictionnaire Pratique de Menuiserie - Ebénisterie - Charpente par J. Justin Storck, 1900 edition

Antique porte cochère © Le Dictionnaire Pratique de Menuiserie - Ebénisterie - Charpente par J. Justin Storck, 1900 edition

Passage des Princes, Paris © Rights reserved

Passage Véro-Dodat © Rights reserved

Interior of the Galerie du Palais Royal, 1831 © Pugin Augustus, Fenner Sears

SC Johnson Wax Research Tower, Racine, 1950 © Frank Lloyd Wright

Fourier or the Passages, 1939 © Walter Benjamin

Château de Versailles © Rights reserved

Entrance hall, Leipzig railway station, Saxony, Germany © Rights reserved

The administrative headquarters of SC Johnson Wax © Frank Lloyd Wright

Les Cols Restaurant, Olot, Girona, Spain © RCR Arquitectes

Room divider © Rights reserved
© Rights reserved
Glass Pipes, SC Jognson Wax Research Tower © Rights reserved

Materials board, Castiglione, Franklin Azzi © Franklin Azzi

Sanya store © SFAP

View of the historic glass roofs, 1887 © Archives Le Bon Marché Rive Gauche

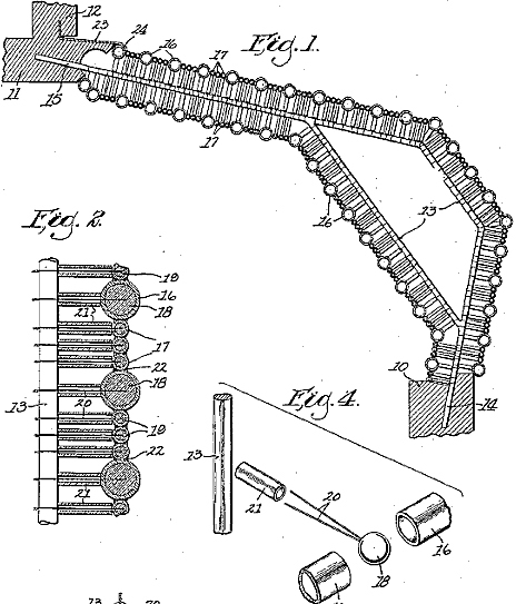
Patent for Structural Glass by Frank Lloyd Wright © Courtesy of The Atlantic

Music School, Brunck - Brunico © Studio Barozzi Veiga, photo Oliver Jaist

Le Bon Marché © Valerie Hugo
© Johnson Wax
Rainbow Church © Tokujin Yoshioka
